
90年代,汽车工厂里主要以依靠人力的流水线生产为主,自动化水平较低。尤其是在汽车零部件料箱拣选环节,环境极其复杂,存在人工分拣效率低等的痛点,对自动化的需求旺盛。
突如其来的公共卫生危机,让原本已经出现的问题加速凸显,当然也在倒逼工业机器人的快速发展,凭借着更具柔性的特点工业机器人屡屡出现在大众视野。
但在一些高端制造领域,例如生物科技、精密半导体等对测量精度要求极高的产业,传统的2D解决方案已经不能满足需求,3D视觉正逐渐崛起,成为市场新宠。
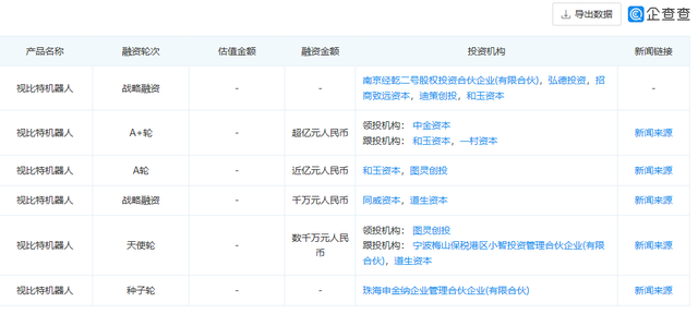
近日,据企查查消息,湖南视比特机器人有限公司获得新一轮战略融资,由南京经乾二号股权投资合伙企业(有限合伙)、弘德投资、招商致远资本、迪策创投、和玉资本等投资机构共同投资。
值得注意的是,这并非视比特第一次融资,在成立至今的短短四年内,视比特已经收获了6轮融资。作为3D视觉赛道的后起之秀,视比特是如何从激烈的竞争中脱颖而出的?
“慧眼”+“强脑”,打造最强视觉大脑
2018年,正值3D视觉和AI技术爆发元年,伴随着我国智能制造转型升级进程的不断加快,工业机器人市场需求迅速增长,视比特也诞生于这一年。
作为机器人的“眼睛”,3D视觉市场火热十足,据高工机器人产业研究所(GGII)研报表明,2021年机器视觉热度延续,并将以20%-30%的速度持续增长,到2023年机器视觉市场规模有望达到155.6亿元。
视比特应运而生,一直扎根3D视觉黄金赛道。从工业到物流,用与生俱来的“AI+3D视觉”两大高科技基因,视比特试图打造复杂场景下3D视觉感知与机器人柔性控制深度融合的最强视觉大脑。
从市场的需求出发解决行业中的痛点,用一个又一个先进又高效的解决方案赢得了行业的认可。
在物流行业,多品类混合码垛一直是行业痛点,多种不同规格的货品凌乱码放在同一托盘上,传统的拆垛机器人无法完成精准的识别。
2018年,视比特推出面向多品类包装箱的无序拆垛机器人——ZeroPick,融合了目前最先进的3D视觉、深度学习和机器人规划控制技术,能够精准识别“紧密贴合、纹理线条与边界线混淆、人眼无法识别的箱子”,识别准确率100%,可识别数千种SKU;并能够快速抓取、准确拆垛。
随后ZeroPick在大型电商物流仓库实地应用,成功经受住了当年“双十一”期间的高强度压力测试,得到了用户的高度认可。
面对智慧物流行业的快递包裹场景,视比特推出了基于3D视觉引导机器人智能供包拣选系统,可针对不限规格、随意堆叠、混合无序、快速运动的快递包裹进行精细化分割、识别,并进行定位抓取,视觉识别准确率100%,实现高效供包拣选。同时,针对胶带反光、复杂图案、面单物体紧密贴合或随意倾斜摆放等复杂工况均可准确快速识别和精准抓取供包。该系统作业效率已在人工水平之上。
面向新零售及无人仓储场景,视比特推出了移动式拣货补货机器人。该机器人同时具备订单拣货和货架补货功能,货架补货涉及到不同类型物品(如纸盒包装、袋装食品、瓶装饮料等)在货架上的整齐放置。
凭借着独特的技术路线和优秀的智能化方案,视比特机器人逆势增长,以惊人的速度完成多领域项目落地和刚需场景技术突破,从众多物流机器人企业中脱颖而出。
可以预见的是,随着机器人应用场景日益丰富化,3D视觉+机器人的“黄金组合”能够适应大量新型的自动化及机器人换人场景,视比特也存在着更为广泛的潜在市场机会。
“3D视觉”星辰大海,“视比特”们如何遨游?
2021年,3D视觉市场仿佛进入了一个新纪元,行业整体呈现出欣欣向荣的走势,从一个细分领域逐渐扩大,形成一个万亿级市场。
与此同时,3D视觉行业的竞争也将更加激烈。
据企查查数据统计,2021年上半年3D视觉领域发生融资事件14起,其中过亿融资达到6起。这背后释放出一个信息:大量资本正在跑步进入3D视觉市场。
如今,伴随人工智能、机器视觉等技术的成熟,工业机器人作为AI落地的场景之一,长期受到阿里、苏宁、京东、顺丰等电商及物流巨头的关注。京东的无人物流机器人,菜鸟物流、深蓝物流机器人开始出现在现代人们的视线中。
但随着3D视觉愈发细分,价格日益下行,一部分厂商为了顺利打开局面在市场掀起了价格战,也进一步加速了3D视觉价格的下降。就拿视比特的核心产品之一无序拆垛机器人来说,所处的抓、拆垛领域的价格战已经敲响,大部分厂商核心零部件基本外购,依赖于拼价格、服务来获取市场份额。
而资本的火热进一步加速市场竞争,有些厂商迫切想要获得资本青睐,通过低价、低利润的方式来做出成绩,哪怕是亏损也要把项目拿下来,这其实也给产品的交付埋下了隐患。
3D视觉的成本主要包括软硬件、研发投入与交付成本,在前期产品用量较少的情况下,厂商无法通过规模化的手段分摊产品成本从而降低售价,导致前期3D视觉的价格开销巨大。
当然,也并不是所有企业都处于亏损当中,目前国内较为成熟的36D视觉企业,如康耐视等厂商常年维持着较高的净利率。据财报数据显示,2018年到2020年,康耐视视觉业务净利率为27.19%、28.1%、21.72%。
随着3D视觉与行业场景从浅层融合走向深度融合,从辅助能力走向生产核心能力,在这个过程中,确实可以看到产业和技术急需升级的诸多因素。但3D视觉并非一把金钥匙,而是需要不断磨练的产业起点。
在3D视觉能力快速覆盖了基础场景,为各行业提供了识别、标记的基础能力之后,还需要与更多的技术脉络进行深度融合,如传感器技术、热成像技术等,以此来适应更复杂、多元化的行业场景。
对于厂商而言,3D视觉走向行业,需要满足具体的垂直需求和定制化场景,任何一家厂商都无法满足庞大的市场需求,因此必须借助软硬件技术融合、对新技术趋势的跟进、对多元开放生态的构建来寻找差异化,找到合适的应用点。
而在这过程中,更考验的就是公司的研发能力,但打造差异化的过程实际上也是厂商形成行业壁垒、技术壁垒、资源壁垒的过程。
因此,对于目前视比特等一众厂商来说,价格战并不是取胜的关键,最后比拼的还是产品和服务质量,只有更好的产品使用体验和长期服务能力,才能打透市场,占据市场领先份额。
结语
3D视觉是智能世界的眼睛,是万物感知的入口。一段技术创新与产业需求的完美关系,正在一步步的创新中迸发出来。
在“新基建”周期的强力推动下,随着硬件设备技术的不断进入,算法与软件的持续优化,借助3D视觉感知与机器人柔性交互技术,视比特正在持续打开与行业需求之间的接线,走入机器视觉赋能生产力核心的全新纪元。
文|新工业洞察(ID:xingongye8)
